山东黄金换帅完成工商变更 韩耀东任山东黄金董事长
天眼查工商信息显示,8月25日,山东黄金(600547)发生工商变更,李航卸任法定代表人、董事长,由韩耀东接任,同时,多位高管均发生变更。
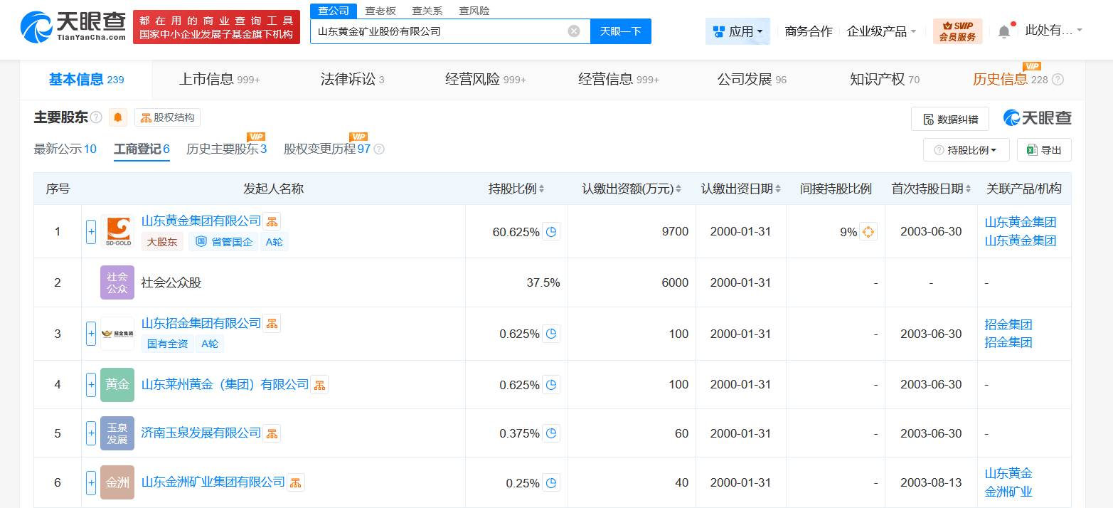
该公司成立于2000年1月,注册资本约44.73亿人民币,经营范围为批准许可范围内的黄金开采、选冶,黄金矿山专用设备、建筑装饰材料的生产、销售。股东信息显示,该公司由山东黄金集团有限公司、山东招金集团有限公司、山东莱州黄金(集团)有限公司等共同持股。
据媒体报道,此前,山东黄金发布公告,董事会选举韩耀东为公司第七届董事会董事长,选举韩耀东担任公司法定代表人,选举刘钦为公司第七届董事会副董事长。



版权声明:如无特殊标注,文章均为本站原创,转载时请以链接形式注明文章出处。









评论