恒大汽车发布公告:2024财报“难产” 股票停牌无限期延长!
快科技7月1日消息,今日,恒大汽车发布公告,由于持续的流动性问题,2024年财报刊发日期无法确定,股票停牌无限期延长。 公司虽一直寻求投资并尝试出售资产以补充资...
快科技7月1日消息,今日,恒大汽车发布公告,由于持续的流动性问题,2024年财报刊发日期无法确定,股票停牌无限期延长。 公司虽一直寻求投资并尝试出售资产以补充资...
恒大最新! 5月16日,中国恒大集团发布公告,披露了有关清盘的进一步消息及继续停牌的信息。 公告指出,中国恒大集团目前处于清盘状态。根据法院指示令,清盘人已被...
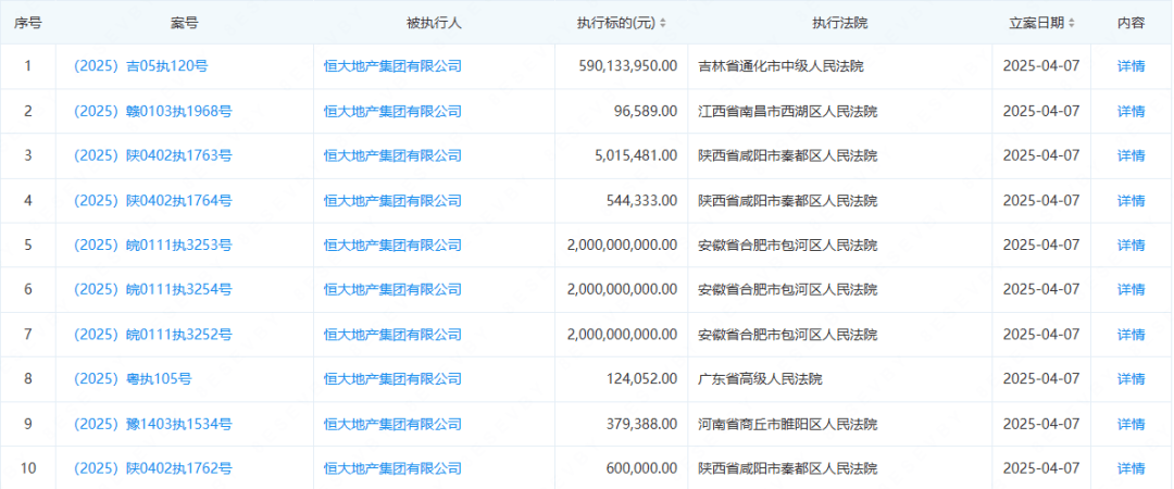
某某查法律诉讼信息显示,4月7日,恒大地产集团有限公司新增10条被执行人信息,执行标的合计65亿余元,涉及票据追索权纠纷、建设工程合同纠纷等案件,部分案件被执行...
钛媒体App 6月30日消息,恒大汽车公告称,集团继续面临流动性问题,尽管集团一直寻求投资并尝试出售部分资产,旨在补充本集团的资金水平,但与潜在战略投资者及买家...
企查查法律诉讼信息显示,4月7日,恒大地产集团有限公司新增10条被执行人信息,执行标的合计65亿余元,涉及票据追索权纠纷、建设工程合同纠纷等案件,部分案件被执行...
中国恒大在港交所公告,有关清盘的进一步消息将于适当时候另行公布,股票继续停牌。 5月2日,中国恒大发布有关清盘的进一步消息,中国香港高等法院已于4月17日就中国...
2025-07-01 12:41:36 作者:狼叫兽 恒大汽车7月1日发布公告表示,由于持续面临流动性紧张问题,公司无法确定2024年财务报告的发布日期,同时...
红星资本局7月1日消息,6月30日晚,恒大财富的官方微博发文称,“许家印还钱!品牌部还有人上班不?” 资料配图 图据视觉中国 红星资本局注意到,该微博账号的认...
5月12日,中国恒大发布内幕消息公告,披露了有关清盘的进一步消息及继续停牌的信息。...
证券之星消息,7月1日恒大概念股板块较上一交易日下跌0.03%,全筑股份领跌。当日上证指数报收于3457.75,上涨0.39%。深证成指报收于10476.29,...